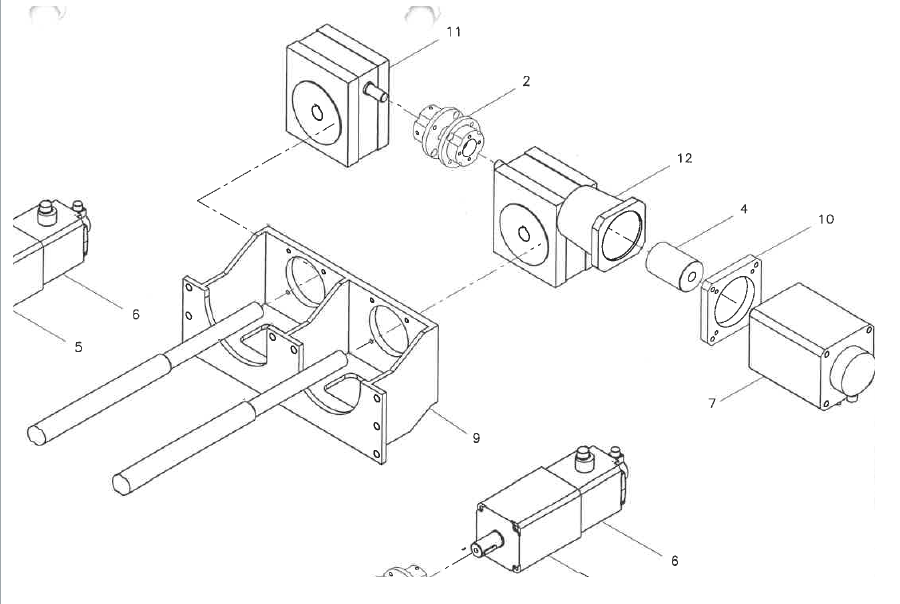
询价船舶配件—齿轮(CK-J20240131-04)询价钱易楚1月31日 09:44发布61 泰州昌宽科技船务服务船用设备船舶物料船舶配件 温馨提示:该询价订单具有时效性,询价发布2天内报价有效,若有疑问或其他问题,请在下方留言或联系客服。
请登录后查看报价内容