


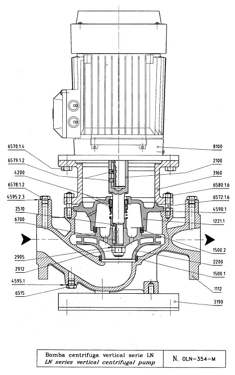
1. Impeller nut LN1 2912 – 1pcs
2.Impeller LN2 2200 – 1pcs
3. Mechanical seal LN3 4200 – 2pcs
4. Gasket LN4 4590.1 – 2pcs
5. Spacer ring LN5 2510 – 2pcs
6. Casing wear ring LN6 1500.2 – 2pcs
7. Casing wear ring LN7 1500.1 – 2pcs
温馨提示:该询价订单具有时效性,询价发布
2天内报价有效,若有疑问或其他问题,请在下方留言或联系客服。
请登录后查看报价内容